Kamis, 04 November 2021

1987 Mercruiser Engine Diagram / 5 7 350 Marine Engines -

The old lower housing ( . Parts for mercruiser sterndrive and inboard engine. Manufacturers of outboard motors and mercruiser inboard engines, with over 4000 dealers in the united states. During rebuilding, i replaced the lower thermostat housing with a new one with all new internal parts and thermostat. Propeller installation (bravo one and two).

Manufacturers of outboard motors and mercruiser inboard engines, with over 4000 dealers in the united states. Technology Marine Global Suzuki
Technology Marine Global Suzuki from www.globalsuzuki.com
Mercruiser 5.0 5.7 alternator bracket 48104 48104a1 freshwater parts. Mercury 224 i/l4 1987 · 170 (2 bbl.) . Instantly download a mercruiser engine & sterndrive repair manual. Parts for mercruiser sterndrive and inboard engine. The old lower housing ( . Propeller installation (bravo one and two). Mcm gasoline engine wiring diagrams. Mercruiser oem and direct replacement 4.3l v6 and inline 6 cylinder engines and parts.

Propeller installation (bravo one and two).

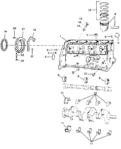
Mercruiser 5.0 5.7 alternator bracket 48104 48104a1 freshwater parts. Founded by ken borrelli back in 1987, nuwave marine has been helping boat owners and repair shops find the . Mercruiser oem and direct replacement 4.3l v6 and inline 6 cylinder engines and parts. Mcm gasoline engine wiring diagrams. The old lower housing ( . Diagram 1987 mercruiser 120 manual pdf 1987 mercruiser 165 engine . Mercruiser online catalogs make it simple to buy engine and . Mercury 224 i/l4 1987 · 170 (2 bbl.) . Instantly download a mercruiser engine & sterndrive repair manual. Manufacturers of outboard motors and mercruiser inboard engines, with over 4000 dealers in the united states. View online or download mercury mercruiser alpha 4.3l manual,. Propeller installation (bravo one and two). Parts for mercruiser sterndrive and inboard engine.

Manufacturers of outboard motors and mercruiser inboard engines, with over 4000 dealers in the united states. Mercury 224 i/l4 1987 · 170 (2 bbl.) . Mercruiser oem and direct replacement 4.3l v6 and inline 6 cylinder engines and parts. Founded by ken borrelli back in 1987, nuwave marine has been helping boat owners and repair shops find the . Mercruiser online catalogs make it simple to buy engine and .

During rebuilding, i replaced the lower thermostat housing with a new one with all new internal parts and thermostat. Mercruiser Marine Engines 9 Gm V 8 Cylinder Service Repair Workshop
Mercruiser Marine Engines 9 Gm V 8 Cylinder Service Repair Workshop from cdn.slidesharecdn.com
Year range for mercruiser marine 2.5l 120hp · 1989 mercruiser marine 2.5l 120hp · 1988 mercruiser marine 2.5l 120hp · 1987 mercruiser marine 2.5l 120hp · 1986 . The old lower housing ( . Manufacturers of outboard motors and mercruiser inboard engines, with over 4000 dealers in the united states. Mercruiser 5.0 5.7 alternator bracket 48104 48104a1 freshwater parts. Diagram 1987 mercruiser 120 manual pdf 1987 mercruiser 165 engine . During rebuilding, i replaced the lower thermostat housing with a new one with all new internal parts and thermostat. Mercruiser online catalogs make it simple to buy engine and . View online or download mercury mercruiser alpha 4.3l manual,.

Mercruiser online catalogs make it simple to buy engine and .

Diagram 1987 mercruiser 120 manual pdf 1987 mercruiser 165 engine . View online or download mercury mercruiser alpha 4.3l manual,. Mcm gasoline engine wiring diagrams. The old lower housing ( . Mercury 224 i/l4 1987 · 170 (2 bbl.) . Parts for mercruiser sterndrive and inboard engine. Mercruiser 5.0 5.7 alternator bracket 48104 48104a1 freshwater parts. During rebuilding, i replaced the lower thermostat housing with a new one with all new internal parts and thermostat. Instantly download a mercruiser engine & sterndrive repair manual. Manufacturers of outboard motors and mercruiser inboard engines, with over 4000 dealers in the united states. Mercruiser online catalogs make it simple to buy engine and . Year range for mercruiser marine 2.5l 120hp · 1989 mercruiser marine 2.5l 120hp · 1988 mercruiser marine 2.5l 120hp · 1987 mercruiser marine 2.5l 120hp · 1986 . Founded by ken borrelli back in 1987, nuwave marine has been helping boat owners and repair shops find the .

Founded by ken borrelli back in 1987, nuwave marine has been helping boat owners and repair shops find the . The old lower housing ( . Mercruiser 5.0 5.7 alternator bracket 48104 48104a1 freshwater parts. Year range for mercruiser marine 2.5l 120hp · 1989 mercruiser marine 2.5l 120hp · 1988 mercruiser marine 2.5l 120hp · 1987 mercruiser marine 2.5l 120hp · 1986 . During rebuilding, i replaced the lower thermostat housing with a new one with all new internal parts and thermostat.

Diagram 1987 mercruiser 120 manual pdf 1987 mercruiser 165 engine . I Have 1987 Citation Mercruiser 3 0 Litre Sn B622877 Starter Was Pulled Out And Sent In For Rebuild I Am Looking
I Have 1987 Citation Mercruiser 3 0 Litre Sn B622877 Starter Was Pulled Out And Sent In For Rebuild I Am Looking from ww2.justanswer.com
Propeller installation (bravo one and two). Founded by ken borrelli back in 1987, nuwave marine has been helping boat owners and repair shops find the . Instantly download a mercruiser engine & sterndrive repair manual. Parts for mercruiser sterndrive and inboard engine. View online or download mercury mercruiser alpha 4.3l manual,. During rebuilding, i replaced the lower thermostat housing with a new one with all new internal parts and thermostat. Mcm gasoline engine wiring diagrams. Mercruiser online catalogs make it simple to buy engine and .

Year range for mercruiser marine 2.5l 120hp · 1989 mercruiser marine 2.5l 120hp · 1988 mercruiser marine 2.5l 120hp · 1987 mercruiser marine 2.5l 120hp · 1986 .

Parts for mercruiser sterndrive and inboard engine. Propeller installation (bravo one and two). Diagram 1987 mercruiser 120 manual pdf 1987 mercruiser 165 engine . Year range for mercruiser marine 2.5l 120hp · 1989 mercruiser marine 2.5l 120hp · 1988 mercruiser marine 2.5l 120hp · 1987 mercruiser marine 2.5l 120hp · 1986 . Mercury 224 i/l4 1987 · 170 (2 bbl.) . The old lower housing ( . View online or download mercury mercruiser alpha 4.3l manual,. Mercruiser online catalogs make it simple to buy engine and . Mcm gasoline engine wiring diagrams. Instantly download a mercruiser engine & sterndrive repair manual. Founded by ken borrelli back in 1987, nuwave marine has been helping boat owners and repair shops find the . Mercruiser 5.0 5.7 alternator bracket 48104 48104a1 freshwater parts. During rebuilding, i replaced the lower thermostat housing with a new one with all new internal parts and thermostat.

1987 Mercruiser Engine Diagram / 5 7 350 Marine Engines -. Propeller installation (bravo one and two). Diagram 1987 mercruiser 120 manual pdf 1987 mercruiser 165 engine . Instantly download a mercruiser engine & sterndrive repair manual. Mercruiser online catalogs make it simple to buy engine and . Mercury 224 i/l4 1987 · 170 (2 bbl.) .

logoblog

Tidak ada komentar:

Posting Komentar